免费定制解决方案
已为725874位商家定制解决方案,入驻成功率高
选择您需要的服务
  • 猫店
  • 淘店
  • 京店
  • 拼多多
  • 猫店国际
  • 抖小店
  • 其他网店
发送验证码
立即获取方案
在线客服,提供专属服务
免费官方热线:400-801-0765
  • 江雀网客户您好,为确保网络店铺的合法、规范转让与经营,我司温馨提示,请勿将您转让或购买的网络店铺用于实施以下违法、犯罪行为:一、利用网络店铺进行诈骗:以虚构事实或隐瞒真相的方式,使受害者产生或维持认识错误,致使受害人财产遭受损失。二、利用网络店铺进行洗钱:将通过其他非法行为获得的非法资金,经由经营网络店铺、虚构交易等各种手段掩饰、隐瞒、转化,使其在形式上合法化。三、利用网络店铺进行非法经营:1、未经许可经营法律、行政法规规定的专营、专卖物品或者其他限制买卖的物品的;2、买卖进出口许可证、进出口原产地证明以及其他法律、行政法规现规定的经营许可证或者批准文件的;3、未经国家有关主管部门批准非法经营证券、期货、保险业务的,或者非法从事资金支付结算业务的;4、其他严重扰乱市场秩序的非法经营行为。四、利用网络店铺出售未达到相关标准的产品,"真假混买"、"以次充好":网络非法外之地,店铺出让人、受让人、实际经营人均须对网络店铺进行合法合规经营和管理。犯罪成本高昂,勿妄存侥幸心理;诚实经营管理,营造良好业态环境。
您好,欢迎来到江雀网!
个人中心 投诉建议
关注江雀
关注江雀公众号
400-801-0765
猫店入驻
京店入驻
首页
猫店入驻
服饰入驻解决方案
女装/女士精品 男装 女士内衣/男士内衣/家居服
家用电器入驻解决方案
影音电器 厨房电器 生活电器 个人护理/保健/按摩器材
母婴入驻解决方案
奶粉/辅食/营养品/零食 童装/婴儿装/亲子装 婴童用品
居家日用入驻解决方案
居家日用 宠物/宠物食品及用品 厨房/烹饪用具 餐饮具
化妆品入驻解决方案
彩妆/香水/美妆工具 美容护肤/美体/精油 美发护发/假发
家装家具家纺入驻解决方案
家装主材 住宅家具 床上用品 家居饰品 特色手工艺
食品入驻解决方案
零食/坚果/特产 粮油调味/速食/干货/烘焙 酒类
鞋类箱包入驻解决方案
流行男鞋 女鞋 箱包皮具/热销女包/男包
3C入驻解决方案
手机 数码相机/单反相机/摄像机 笔记本电脑 DIY电脑
汽车及配件入驻解决方案
汽车用品/电子/清洗/改装 新车/二手车 摩托车/装备/配件
京店入驻
服饰鞋类箱包入驻解决方案
女装品牌 男装品牌 童装品牌
家具厨具入驻解决方案
生活家具 办公家具 儿童家具 酒店家具
运动户外入驻解决方案
运动品牌 运动户外用品 运动包品牌
珠宝首饰钟表
黄金品牌 翡翠品牌 珍珠品牌 钻石品牌
美妆个护入驻解决方案
面部护肤 男士面部护肤 香水彩妆 美妆工具
家装家居家纺入驻解决方案
装修建材 五金材料 光源品牌
食品入驻解决方案
零食/坚果类特产 粮油米面 咖啡饮品 果蔬类 水产肉类 酒类 茶叶 佐料调味品
电脑办公入驻解决方案
电脑整机 电脑配件 外设产品 网络产品 办公打印 办公文仪 服务产品
数码入驻解决方案
摄影摄像 数码配件 影音娱乐 智能设备
汽车用品入驻解决方案
汽车美容 汽车电器 汽车配件 汽车启动电源
猫店转让
图片路径错误

西南地区 洗护清洁剂/卫生巾/纸/香薰旗舰店 商标授权 小规模纳税 地址真实 诚心出售 欢迎咨询

商品编号:JQ780423795298009090 复制
收藏
  • 猫店店铺信息
  • 企业及商标信息
  • 旗舰店

    商城类型

  • 居家日用

    主营类目

  • 提供货源

  • 50000.00元

    注册资本

  • 西南地区

    店铺地区

  • 无贷款

    贷款状态

  • 未知

    入驻时间

  • 授权商标

    商标属性

  • R标

    商标类型

  • 小规模纳税

    纳税类型

  • 绑定代记账

  • 0分

    一般违规

  • 0分

    严重违规

  • 0分

    售假违规

  • 存续

    经营状态

  • 小规模纳税

    纳税类型

  • 西南地区

    公司地区

  • 是否失信

  • 行政处罚

  • 法院判决

  • R标

    商标类型

  • 授权商标

    商标属性

  • 连带过户

宝贝与描述比同行业平均水平 卖家的服务比同行业平均水平 卖家发货速度比同行业平均水平
店铺价格
保证金-退还 (元)技术年费-需退还 (元)具体费用请咨询客服详细了解
江雀顾问-李甘杰
客服评分控制宽度取整:公式:(84*客服评分)/109.8
从业经验:4年
联系电话:19102663176
其他咨询顾问
投诉建议
立即购买 免费看店 砍价 签署合同担保交易提供证件极速放款支持线下确认后放款
店铺截图
网店评估
网店动态
均价走势
费用预估
购买流程
运营方案
常见问题
类似店铺

店铺截图

  • 店铺类目
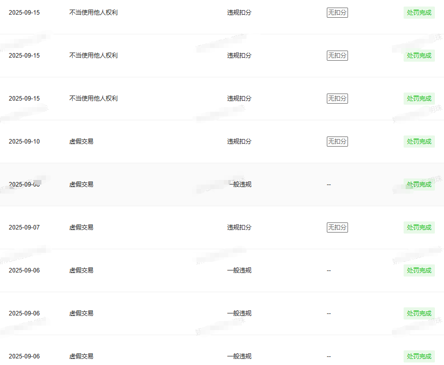
    扣分截图
    扣分截图
    续签考核

网店评估

9.7

综合评分

网店评估极好

网店质量评分 9.3

商标属性

8.0

纳税类型

10

商标类型

10

营业指标

商城类型

10

动态评分

8.5

网店安全评分 10

一般违规

10

法院判决

10

严重违规

10

贷款状态

10

售假违规

10

失信状态

10

该评估结果基于江雀平台数据及网店特性,受多方因素影响,该报告仅供参考!

本店关注动态

关注度一般

店铺值得入手

  • 12

    最近访问次数

  • 0

    最近咨询次数

  • 0

    最近砍价次数

暂无关注动态哦~

同类网店交易动态

24.29万

近30日交易金额

13

近30日交易数量

用户 jq****7a31b67aee62 1000.00元 购得猫店居家日用类网店

5小时前

用户 fa****ib 20515.42元 购得猫店居家日用类网店

1小时前

用户 ga****fe 20413.42元 购得猫店居家日用类网店

1小时前

用户 de****bj 19760.42元 购得猫店居家日用类网店

1小时前

用户 eg****ha 20100.42元 购得猫店居家日用类网店

2小时前

用户 if****j 19507.42元 购得猫店居家日用类网店

1小时前

用户 be****c 19051.42元 购得猫店居家日用类网店

1小时前

用户 db****i 18987.42元 购得猫店居家日用类网店

2小时前

用户 eh****ij 19021.42元 购得猫店居家日用类网店

1小时前

用户 cj****jc 20465.42元 购得猫店居家日用类网店

2小时前

用户 ec****fg 18785.42元 购得猫店居家日用类网店

2小时前

用户 db****ef 19265.42元 购得猫店居家日用类网店

2小时前

用户 hd****ic 20024.42元 购得猫店居家日用类网店

2小时前

均价走势

猫店" 居家日用类 " 网店均价走势

  • 近30天
  • 近三月
  • 近半年

该数据截取江雀居家日用类网店售价,价格受市场因素影响,仅供参考

费用预估

总计费用

交易平台

交易金额 (元)

买家服务费 (元)

  • 网店售价: ¥ 83.33%
  • 消保金: ¥ 0.00%
  • 技术年费: ¥ 0.00%
  • 服务费: ¥ 16.67%

猫店

>40000

≤40000

店铺售价 x 5%

店铺售价 x 10%

2000

购买流程

注册账号

一分钟快速注册江雀账号

01
选择网店

江雀海量资源供您选择

02
联系客服

专属客服陪同为梦想护航

03
签署合同

专业合同受法律保障

04
交接过户

优质的店铺转让资源

05