免费定制解决方案
已为725874位商家定制解决方案,入驻成功率高
选择您需要的服务
  • 猫店
  • 淘店
  • 京店
  • 拼多多
  • 猫店国际
  • 抖小店
  • 其他网店
发送验证码
立即获取方案
在线客服,提供专属服务
免费官方热线:400-801-0765
  • 江雀网客户您好,为确保网络店铺的合法、规范转让与经营,我司温馨提示,请勿将您转让或购买的网络店铺用于实施以下违法、犯罪行为:一、利用网络店铺进行诈骗:以虚构事实或隐瞒真相的方式,使受害者产生或维持认识错误,致使受害人财产遭受损失。二、利用网络店铺进行洗钱:将通过其他非法行为获得的非法资金,经由经营网络店铺、虚构交易等各种手段掩饰、隐瞒、转化,使其在形式上合法化。三、利用网络店铺进行非法经营:1、未经许可经营法律、行政法规规定的专营、专卖物品或者其他限制买卖的物品的;2、买卖进出口许可证、进出口原产地证明以及其他法律、行政法规现规定的经营许可证或者批准文件的;3、未经国家有关主管部门批准非法经营证券、期货、保险业务的,或者非法从事资金支付结算业务的;4、其他严重扰乱市场秩序的非法经营行为。四、利用网络店铺出售未达到相关标准的产品,"真假混买"、"以次充好":网络非法外之地,店铺出让人、受让人、实际经营人均须对网络店铺进行合法合规经营和管理。犯罪成本高昂,勿妄存侥幸心理;诚实经营管理,营造良好业态环境。
您好,欢迎来到江雀网!
个人中心 投诉建议
关注江雀
关注江雀公众号
400-801-0765
猫店入驻
京店入驻
首页
猫店入驻
服饰入驻解决方案
女装/女士精品 男装 女士内衣/男士内衣/家居服
家用电器入驻解决方案
影音电器 厨房电器 生活电器 个人护理/保健/按摩器材
母婴入驻解决方案
奶粉/辅食/营养品/零食 童装/婴儿装/亲子装 婴童用品
居家日用入驻解决方案
居家日用 宠物/宠物食品及用品 厨房/烹饪用具 餐饮具
化妆品入驻解决方案
彩妆/香水/美妆工具 美容护肤/美体/精油 美发护发/假发
家装家具家纺入驻解决方案
家装主材 住宅家具 床上用品 家居饰品 特色手工艺
食品入驻解决方案
零食/坚果/特产 粮油调味/速食/干货/烘焙 酒类
鞋类箱包入驻解决方案
流行男鞋 女鞋 箱包皮具/热销女包/男包
3C入驻解决方案
手机 数码相机/单反相机/摄像机 笔记本电脑 DIY电脑
汽车及配件入驻解决方案
汽车用品/电子/清洗/改装 新车/二手车 摩托车/装备/配件
京店入驻
服饰鞋类箱包入驻解决方案
女装品牌 男装品牌 童装品牌
家具厨具入驻解决方案
生活家具 办公家具 儿童家具 酒店家具
运动户外入驻解决方案
运动品牌 运动户外用品 运动包品牌
珠宝首饰钟表
黄金品牌 翡翠品牌 珍珠品牌 钻石品牌
美妆个护入驻解决方案
面部护肤 男士面部护肤 香水彩妆 美妆工具
家装家居家纺入驻解决方案
装修建材 五金材料 光源品牌
食品入驻解决方案
零食/坚果类特产 粮油米面 咖啡饮品 果蔬类 水产肉类 酒类 茶叶 佐料调味品
电脑办公入驻解决方案
电脑整机 电脑配件 外设产品 网络产品 办公打印 办公文仪 服务产品
数码入驻解决方案
摄影摄像 数码配件 影音娱乐 智能设备
汽车用品入驻解决方案
汽车美容 汽车电器 汽车配件 汽车启动电源
猫店转让
图片路径错误

5钻企业店铺,珠宝/配饰占比纯,诚心出售,配合过户,好评高,动态全红,多年老店,有意滴滴客服

商品编号:JQ578525089973141504 复制
收藏
  • 淘店店铺信息
  • 企业及商标信息
  • 企业店铺

    网店类型

  • 珠宝/首饰

    主营类目

  • 网店等级

  • 99.00%

    好评率

  • 动态评分

  • 0-0-0

    违规扣分

  • 1-5W

    粉丝数量

  • 华东地区

    店铺地区

  • 提供货源

  • 0

    一般违规

  • 0

    严重违规

  • 店铺资质

  • 有无质检

  • 2016

    创店时间

  • 5001-10000

    店铺信誉值为保护店铺隐私,故只展示当前信誉值所属区间

  • 未知

    经营状态

  • 一般纳税人

    纳税类型

  • 华东地区

    公司地区

  • 是否失信

  • 行政处罚

  • 法院判决

  • 全部

    商标类型

  • 未知

    商标属性

  • 连带过户

宝贝与描述比同行业平均水平 卖家的服务比同行业平均水平 卖家发货速度比同行业平均水平
店铺价格
保证金-退还 (元)技术年费-需退还(元)具体费用请咨询客服详细了解
江雀顾问-官方客服
客服评分控制宽度取整:公式:(84*客服评分)/109.9
从业经验:2年
联系电话:400-801-0765
其他咨询顾问
投诉建议
立即购买 免费看店 砍价 签署合同担保交易提供证件极速放款支持线下确认后放款
店铺截图
网店评估
网店动态
均价走势
费用预估
购买流程
运营方案
常见问题
类似店铺

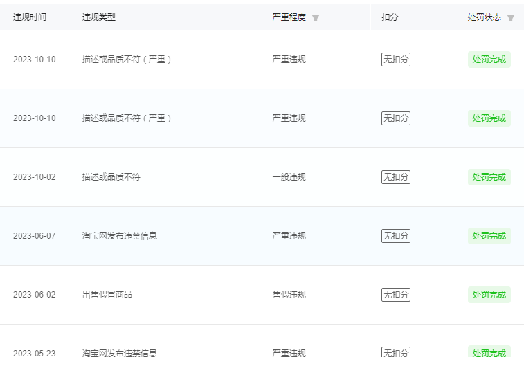
店铺截图

  • 扣分截图
    扣分截图

网店评估

9

综合评分

网店评估良好

网店质量评分 8.0

商标属性

纳税类型

8.0

商标类型

网店安全评分 10

一般违规

10

法院判决

10

严重违规

10

贷款状态

售假违规

10

失信状态

该评估结果基于江雀平台数据及网店特性,受多方因素影响,该报告仅供参考!

本店关注动态

关注度极高

预计很快售出

  • 119

    最近访问次数

  • 0

    最近咨询次数

  • 0

    最近砍价次数

暂无关注动态哦~

同类网店交易动态

35.32万

近30日交易金额

10

近30日交易数量

用户 ji****jj 34813.8元 购得淘店珠宝/首饰类网店

1小时前

用户 gf****af 33765.8元 购得淘店珠宝/首饰类网店

1小时前

用户 ce****dg 33371.8元 购得淘店珠宝/首饰类网店

1小时前

用户 he****he 33565.8元 购得淘店珠宝/首饰类网店

1小时前

用户 ha****jj 34519.8元 购得淘店珠宝/首饰类网店

1小时前

用户 hf****b 33385.8元 购得淘店珠宝/首饰类网店

2小时前

用户 bc****ea 33598.8元 购得淘店珠宝/首饰类网店

1小时前

用户 hb****fd 34576.8元 购得淘店珠宝/首饰类网店

2小时前

用户 dg****d 34785.8元 购得淘店珠宝/首饰类网店

1小时前

用户 cj****cb 34564.8元 购得淘店珠宝/首饰类网店

1小时前

均价走势

淘店" 珠宝/首饰类 " 网店均价走势

  • 近30天
  • 近三月
  • 近半年

该数据截取江雀珠宝/首饰类网店售价,价格受市场因素影响,仅供参考

费用预估

总计费用

交易平台

交易金额 (元)

买家服务费 (元)

  • 网店售价: ¥ 78.21%
  • 消保金: ¥ 13.97%
  • 技术年费: ¥ 0.00%
  • 服务费: ¥ 7.82%

淘店

>10000

≤10000

店铺售价 x 10%

1000

交易流程

注册账号

一分钟快速注册江雀账号

01
选择网店

江雀海量资源供您选择

02
联系客服

专属客服陪同为梦想护航

03
签署合同

专业合同受法律保障

04
交接过户

优质的店铺转让资源

05