网店类型

信誉等级
主营类目
商城类型
商标类型
商城销量
所在地区
商标属性
入驻时间
贷款状态
是否带货
提供货源
动态评分
店铺评分
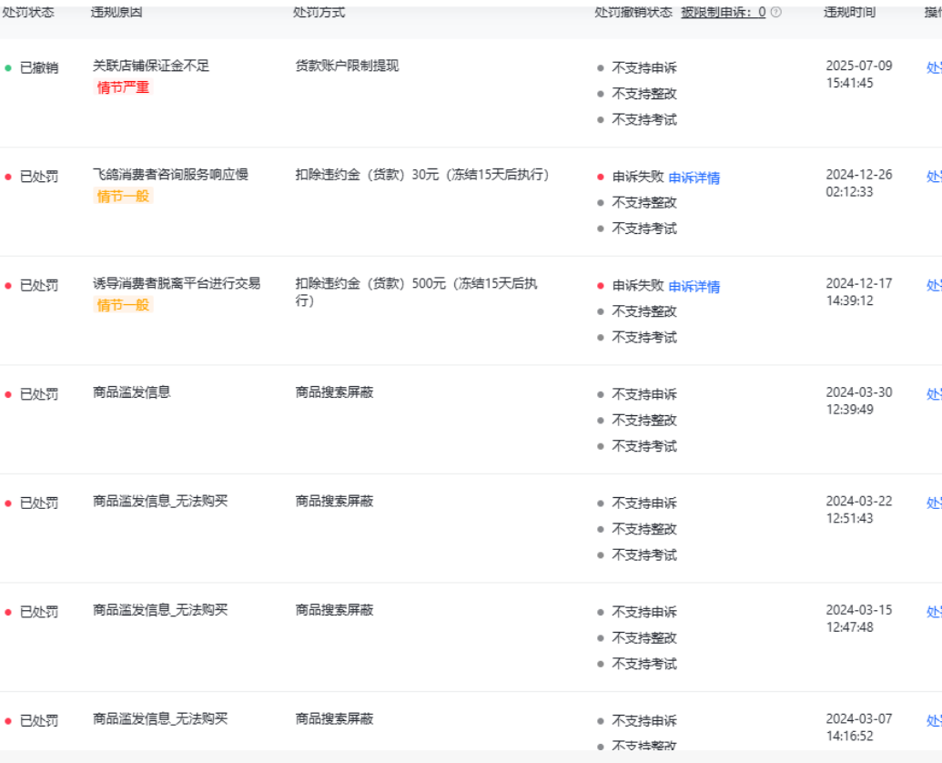
违规扣分
经营状态
纳税类型
公司地区
是否失信
行政处罚
法院判决
商标类型
商标属性
连带过户
9.5
综合评分
网店评估优秀
商标属性
无
纳税类型
8.0
商标类型
10
一般违规
10
法院判决
10
严重违规
10
贷款状态
10
售假违规
10
失信状态
10
该评估结果基于江雀平台数据及网店特性,受多方因素影响,该报告仅供参考!
预计很快售出
90 次
最近访问次数
0 次
最近咨询次数
0 次
最近砍价次数
暂无关注动态哦~
205.54万 元
近30日交易金额
9 个
近30日交易数量
抖小店" 二手商品类 " 网店均价走势
该数据截取江雀二手商品类网店售价,价格受市场因素影响,仅供参考
总计费用
万
网店售价
万
消保金
元
服务费
元
一分钟快速注册江雀账号
01江雀海量资源供您选择
02专属客服陪同为梦想护航
03专业合同受法律保障
04优质的店铺转让资源
05